找回密码
 立即注册
澳门威尼斯人
U8
U18
海燕招商
A
蓝盾
e世博
islot.
申博亚洲
澳门银河
B
开云
腾博会
德信
C级广告商
吉祥坊
华体会
查看: 134|回复: 58

[彩票] 顺利的彩票游戏日子真是太棒啦

[复制链接]

63

主题

2718

回帖

2193

金币

银牌会员

积分
11221

老会员

发表于 2026-3-27 12:49 | 显示全部楼层 |阅读模式

马上注册,结交更多好友,享用更多功能,让你轻松玩转社区。

您需要 登录 才可以下载或查看,没有账号?立即注册

×
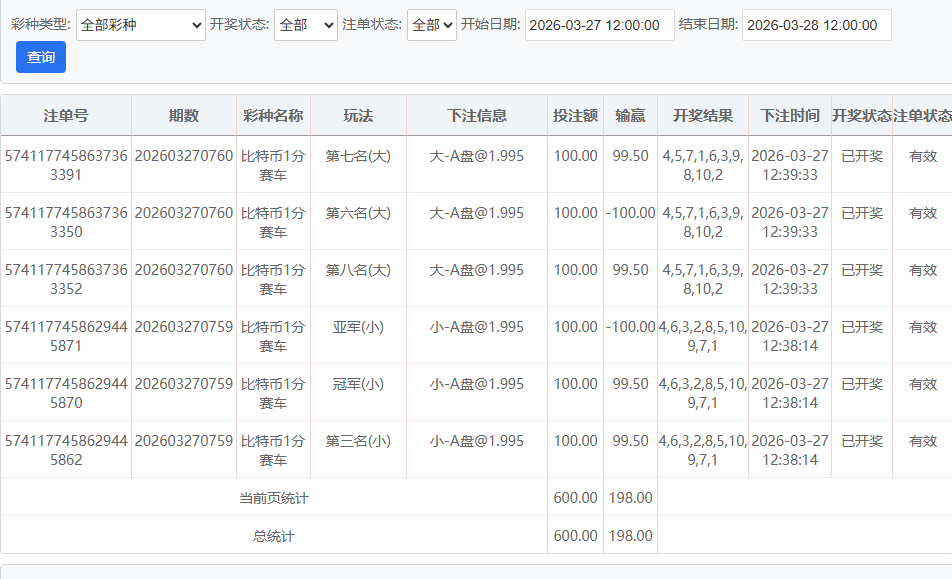
中午又是开始游戏比特币彩票游戏,但结果算是比较可以,稳定的注码和下注三定位两面,结果可想而知把握住,盈利198块钱也得走人;  I( e( U% D. s4 h' L- P
. s6 q4 i. \4 ?* Q) P

( |% r' T7 d9 G5 S" n; M0 ]6 q 2.jpg 1.jpg - J9 m/ {; S9 Q# D: ~- X+ x

评分

参与人数 1金币 +6 收起 理由
海燕RG + 6 实战分享

查看全部评分

回复

使用道具 举报

2

主题

963

回帖

804

金币

高级用户

积分
4509
发表于 2026-3-27 13:59 | 显示全部楼层
结果还算可以吧,不算很多,够吃顿好的
回复 支持 反对

使用道具 举报

2621

主题

5万

回帖

6917

金币

钻石用户

积分
177941

万时之王老会员精华勋章勤奋勋章交易勋章

发表于 2026-3-27 14:24 来自手机 | 显示全部楼层
彩票赢了小200块钱,不错的
回复 支持 反对

使用道具 举报

2621

主题

5万

回帖

6917

金币

钻石用户

积分
177941

万时之王老会员精华勋章勤奋勋章交易勋章

发表于 2026-3-27 14:25 来自手机 | 显示全部楼层
秋天的落霞 发表于 2026-3-27 13:59
. S# Y9 h4 b4 D0 G* R$ c+ n( Y8 c结果还算可以吧,不算很多,够吃顿好的
. [, M/ C* [" U/ m
楼主玩彩票真是太好了,又收获了小200大洋,能有这样的收益是本事
回复 支持 反对

使用道具 举报

6

主题

2822

回帖

9862

金币

金牌会员

积分
28139
发表于 2026-3-27 14:25 | 显示全部楼层
这样的成绩也是相当让人满意的了
回复 支持 反对

使用道具 举报

6

主题

2822

回帖

9862

金币

金牌会员

积分
28139
发表于 2026-3-27 14:27 | 显示全部楼层
浴火凤凰 发表于 2026-3-27 14:24" I4 c' q1 H2 c. z) V- w: O
彩票赢了小200块钱,不错的
3 J8 u# y, M  T" ?
这样的成绩还是非常满意的了
回复 支持 反对

使用道具 举报

6

主题

2822

回帖

9862

金币

金牌会员

积分
28139
发表于 2026-3-27 14:28 | 显示全部楼层
浴火凤凰 发表于 2026-3-27 14:253 J- G. c( t1 B; D+ r9 c
楼主玩彩票真是太好了,又收获了小200大洋,能有这样的收益是本事

) T: n1 d' F* {$ W这样的成绩确实是非常棒的了
回复 支持 反对

使用道具 举报

0

主题

57

回帖

183

金币

中级用户

积分
547
发表于 2026-3-27 17:30 | 显示全部楼层
恭喜大获全胜,楼主技术超群
回复 支持 反对

使用道具 举报

91

主题

2万

回帖

7959

金币

铂金用户

积分
82769

老会员交易勋章魅力达人

发表于 2026-3-27 17:46 | 显示全部楼层
中午这波定位两面操作挺稳啊,见好就收,198块够加个鸡腿了
回复 支持 反对

使用道具 举报

8

主题

2万

回帖

5211

金币

铂金用户

积分
70348

光影行者

发表于 2026-3-27 21:00 | 显示全部楼层
稳扎稳打赚到198就收手挺明智,这种节奏能长久玩下去
回复 支持 反对

使用道具 举报

8

主题

2万

回帖

5211

金币

铂金用户

积分
70348

光影行者

发表于 2026-3-27 21:00 | 显示全部楼层
aaxmmx 发表于 2026-3-27 14:25
; S% g: |9 Y5 h+ q1 o# y: S这样的成绩也是相当让人满意的了
( p% A* x) y4 k3 e
这波稳了,手感和节奏都在线,继续稳住别浪
回复 支持 反对

使用道具 举报

843

主题

2万

回帖

1万

金币

铂金用户

积分
88141

老会员精华勋章魅力达人

发表于 2026-3-27 21:55 来自手机 | 显示全部楼层
这样稳定的赢钱节奏真是让人羡慕不已的了。
回复 支持 反对

使用道具 举报

843

主题

2万

回帖

1万

金币

铂金用户

积分
88141

老会员精华勋章魅力达人

发表于 2026-3-27 21:57 来自手机 | 显示全部楼层
秋天的落霞 发表于 2026-3-27 13:59
% E1 V/ ^, q+ c# }结果还算可以吧,不算很多,够吃顿好的
4 d7 z% q% {/ _) X/ n
这样的结果已经是很不错了,希望楼主可以继续保持。
回复 支持 反对

使用道具 举报

843

主题

2万

回帖

1万

金币

铂金用户

积分
88141

老会员精华勋章魅力达人

发表于 2026-3-27 21:57 来自手机 | 显示全部楼层
蔬菜沙拉 发表于 2026-3-27 21:001 L( Y$ R3 o5 [5 D7 A
稳扎稳打赚到198就收手挺明智,这种节奏能长久玩下去

; P3 L/ {& N6 c( ]4 W4 E' `要想菠菜玩的长久,就必须要稳住才行。
回复 支持 反对

使用道具 举报

252

主题

1万

回帖

1654

金币

金牌会员

积分
31830

老会员

发表于 2026-3-27 22:59 | 显示全部楼层
赢钱是这样的话,非常舒服,还是你们赢钱简单
回复 支持 反对

使用道具 举报

您需要登录后才可以回帖 登录 | 立即注册

本版积分规则

广告合作|福利汇|论坛简介|钱包教程|手机版|小黑屋|Archiver|海燕论坛

快速回复 返回顶部 返回列表