找回密码
 立即注册
澳门威尼斯人
U8
U18
海燕招商
A
蓝盾
e世博
islot.
申博亚洲
澳门银河
B
开云
腾博会
德信
C级广告商
吉祥坊
华体会
查看: 614|回复: 94

[彩票] 晚上的彩票非常顺利收米390多块钱

[复制链接]

58

主题

2694

回帖

2037

金币

银牌会员

积分
10807

老会员

发表于 2026-3-14 18:41 | 显示全部楼层 |阅读模式

马上注册,结交更多好友,享用更多功能,让你轻松玩转社区。

您需要 登录 才可以下载或查看,没有账号?立即注册

×
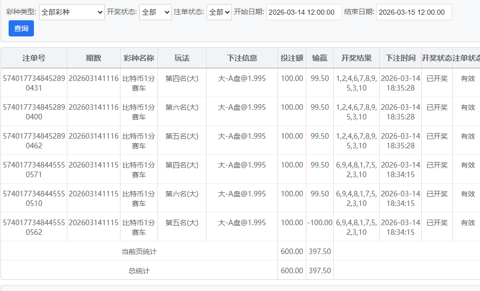
晚上的比特赛车居然能顺利赢到390多块钱,依旧是按100-200-300-450-600的节奏来下注。1 D6 ~- d4 q4 w1 i: n$ o' Z
1.jpg
; ^  n' C! y* S9 e& m0 H 2.jpg   J2 [( A7 T- E! U. w0 L1 f% I2 ^( T

5 b8 c# ~  L7 ?* s# ^. U$ Y5 K- h7 n, i

. C: w; Q3 l% k' t& P5 F1 B, t" k

评分

参与人数 1金币 +6 收起 理由
海燕RG + 6 实战分享

查看全部评分

回复

使用道具 举报

210

主题

1万

回帖

1549

金币

千足金牌会员

积分
43200

老会员

发表于 2026-3-14 19:58 | 显示全部楼层
楼主玩彩票游戏非常有策略,更多结果来看也是有效果收获
回复 支持 反对

使用道具 举报

4

主题

69

回帖

629

金币

高级用户

积分
1499
发表于 2026-3-14 20:06 | 显示全部楼层
还是楼主高啊,这场令人满意   
回复 支持 反对

使用道具 举报

7

主题

2万

回帖

1万

金币

铂金用户

积分
77974

光影行者

发表于 2026-3-14 20:38 | 显示全部楼层
这节奏稳得一批,小步慢跑不贪真能扛住波动,下次试试前几轮压更轻点
回复 支持 反对

使用道具 举报

2

主题

8289

回帖

8845

金币

千足金牌会员

积分
42059
发表于 2026-3-15 02:24 | 显示全部楼层
比特赛车按那阶梯节奏下居然收了390多,顺的时候这注码走得还挺稳啊
回复 支持 反对

使用道具 举报

1569

主题

8万

回帖

2万

金币

海燕硕士

积分
254486

万时之王老会员精华勋章勤奋勋章交易勋章光影行者

发表于 2026-3-15 05:48 | 显示全部楼层
楼主也是非常给力的收米了,非常满意的成绩
回复 支持 反对

使用道具 举报

1569

主题

8万

回帖

2万

金币

海燕硕士

积分
254486

万时之王老会员精华勋章勤奋勋章交易勋章光影行者

发表于 2026-3-15 05:48 | 显示全部楼层
蔬菜沙拉 发表于 2026-3-14 20:38
8 _% P, @1 N- V0 Q: [4 G) B( j这节奏稳得一批,小步慢跑不贪真能扛住波动,下次试试前几轮压更轻点

0 o" r* O5 g- H& M我们都是非常喜欢这样的盈利,要祝贺一下楼主的
回复 支持 反对

使用道具 举报

1569

主题

8万

回帖

2万

金币

海燕硕士

积分
254486

万时之王老会员精华勋章勤奋勋章交易勋章光影行者

发表于 2026-3-15 05:48 | 显示全部楼层
思维认知 发表于 2026-3-15 02:24
  F. Z: X$ q1 f  `比特赛车按那阶梯节奏下居然收了390多,顺的时候这注码走得还挺稳啊

4 n2 R5 L: Q8 S/ k, f5 U楼主是个玩彩票的高手,非常让人羡慕的了
回复 支持 反对

使用道具 举报

7

主题

1万

回帖

5493

金币

千足金牌会员

积分
51044

老会员光影行者

发表于 2026-3-15 06:32 | 显示全部楼层
节奏控制得不错,390的收益确实让人心里舒坦,这个下注模式挺稳的
回复 支持 反对

使用道具 举报

0

主题

1528

回帖

2999

金币

银牌会员

积分
10510
发表于 2026-3-15 06:56 | 显示全部楼层
比特赛车这节奏居然能捞到390多?100起步一步步加居然没翻船,手气是真顺啊,羡慕了
回复 支持 反对

使用道具 举报

0

主题

1528

回帖

2999

金币

银牌会员

积分
10510
发表于 2026-3-15 06:57 | 显示全部楼层
思维认知 发表于 2026-3-15 02:24
6 q/ b+ \3 ?% L- D. g6 S8 c比特赛车按那阶梯节奏下居然收了390多,顺的时候这注码走得还挺稳啊

' `  i; b. {. d" v比特赛车那阶梯节奏居然稳收390多,顺的时候注码走得还挺舒服,看来摸对节奏是真省心,不像有时候瞎搞乱飘
回复 支持 反对

使用道具 举报

2427

主题

8万

回帖

7638

金币

海燕硕士

积分
228298

老会员超级精华精华勋章美女勋章勤奋勋章交易勋章万时之王

发表于 2026-3-15 07:22 | 显示全部楼层
彩票可以赚到这么多的钱也不容易
回复 支持 反对

使用道具 举报

2427

主题

8万

回帖

7638

金币

海燕硕士

积分
228298

老会员超级精华精华勋章美女勋章勤奋勋章交易勋章万时之王

发表于 2026-3-15 07:22 | 显示全部楼层
NO.2 发表于 2026-3-15 06:57
  O: Q2 Y$ E5 ]5 {. C3 [& ]比特赛车那阶梯节奏居然稳收390多,顺的时候注码走得还挺舒服,看来摸对节奏是真省心,不像有时候瞎搞乱 ...

0 h) d; Q" f0 J* |5 Q& A4 A3 Q' W有个好的节奏才能稳定的搞钱来的呀
回复 支持 反对

使用道具 举报

2427

主题

8万

回帖

7638

金币

海燕硕士

积分
228298

老会员超级精华精华勋章美女勋章勤奋勋章交易勋章万时之王

发表于 2026-3-15 07:22 | 显示全部楼层
cwx1994 发表于 2026-3-15 05:48
' z# V8 f. B8 P; K2 v- u楼主是个玩彩票的高手,非常让人羡慕的了

5 y9 A+ F& ]: q- g/ x  g1 t8 k0 m' s确实也算一个高手吧,这样才能赚到钱
回复 支持 反对

使用道具 举报

2427

主题

8万

回帖

7638

金币

海燕硕士

积分
228298

老会员超级精华精华勋章美女勋章勤奋勋章交易勋章万时之王

发表于 2026-3-15 07:22 | 显示全部楼层
123 发表于 2026-3-14 20:06  R) G+ K; \# q1 ~! I) k. Y
还是楼主高啊,这场令人满意

$ U' ?, p2 u' P+ o- Z. D6 \9 r  [也没有什么好羡慕的吧,几百块钱而已
回复 支持 反对

使用道具 举报

您需要登录后才可以回帖 登录 | 立即注册

本版积分规则

广告合作|福利汇|论坛简介|钱包教程|手机版|小黑屋|Archiver|海燕论坛

快速回复 返回顶部 返回列表