找回密码
 立即注册
澳门威尼斯人
U8
U18
海燕招商
A
蓝盾
e世博
islot.
申博亚洲
澳门银河
B
开云
腾博会
德信
C级广告商
吉祥坊
华体会
查看: 114010|回复: 65

[彩票] 【实战有奖】今天在申博7V玩彩票输了300多

[复制链接]

1214

主题

3万

回帖

509

金币

铂金用户

积分
93117

老会员交易勋章光影行者

发表于 2025-5-28 21:25 | 显示全部楼层 |阅读模式

马上注册,结交更多好友,享用更多功能,让你轻松玩转社区。

您需要 登录 才可以下载或查看,没有账号?立即注册

×
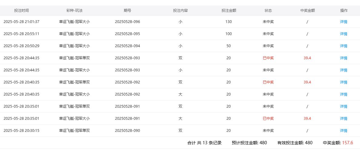
       今天到了申博7V去玩了彩票了。选择了幸运飞艇的游戏,可惜结果不好了啊。原来只是输了几十,但是我想追回来,结果越输越多,最后输了300多,实在是太惨啦 。7 s0 q) S) i8 R5 f+ t5 X3 Y

7 E5 _0 ?0 h/ Q8 Y& n- i       我本来是观察了路子的,发现第5名的位置的单双大小和冠军位置的差不多,有些期数居然是一模一样,胜算很高。所以就决定这么打了啊。每一想到第一期就坏事了。第一期我根据8去打大和双,结果竟然是出了3,这是小单的数字啊,于是我就变成了2黑了啊。我就输了40大洋出去了啊。也是比较悲催的啊。( J& h3 i1 q$ {+ Y9 E7 ~
        第2期,我根据4这个数字打了小和双各20大洋了。结果出了3这个小单的数字,我的下注就是一红一黑的啊。这样本期我是没有亏的啊。也是还算好的啊。其实本来我以为是会全对的,但是也是没有在我的预料之中了啊。4 e/ Z/ j) `3 A8 p* Z# M# o
         第3期,我根据6这个数字打了大和双,但是结果出了7这个数字,这是大单了啊,于是我本期就也是一红1黑了啊。这本期是没有亏,但是我还是输,我没有回本了啊。也是不满足,不开心的啊。
  [+ G( C7 Z; \  w3 A. Q$ D( }% B        第4期了,我根据了10这个数字买了大和双,但是结果不理想,只是出了4,这个小双。我对了一半,也是还错了一半。这样我虽然没有输,但是还是赢不了也也是令人焦急了啊。0 e/ ]! j, z$ v& t, G* I$ R
        第5期,我根据2这个数字买了小和双,每个20大洋。但是结果出了6,这是大双。于是我再一次的半对半错。又是赢不了钱了啊。也是很无奈啦。我想着自己虽然打完了任务,但是输了钱。于是就想扳本了啊。
2 g4 G2 B' E. f6 R; Q5 ]       我看着冠军的大小好像是跳的路子,我就去买了小。因为想扳本,我直接下注了50大洋了。但是啊,真是无奈了,我居然错了 啊于是我输的更多了。我突然不服气了啊。我心里想着就是要扳本了啊。于是我就不信邪的再买100的小。我是以为小会出来的啊。; A/ E" a8 B  n! Y# v7 J
       但是,小没有出来,上期出了9,这期出了8,我是真不开心的啊。我心想,已经输了一百多了啊。要不再打一把回点本吧。于是我就买了130的小。希望小这次再出来 。但是结果事与愿违了啊。又出了一个8。这样,我就输了300多了啊。我是真的不想输的,但是竟然输了。我不敢再买了。想着把筹码输了就算了。要是再不中,把本金搭进去就划不来了。所以还是就撤退了 啊。9 {: p7 a% r5 g
11.JPG 22.JPG
$ m! W* N) |% d5 ^. z4 C
回复

使用道具 举报

39

主题

2086

回帖

560

金币

铜牌用户

积分
6225

老会员

发表于 2025-5-28 21:30 | 显示全部楼层
心态一崩就容易追大,咱以后看路子要多留心,别被输赢牵着鼻子走。
回复 支持 反对

使用道具 举报

2618

主题

5万

回帖

6706

金币

钻石用户

积分
177264

万时之王老会员精华勋章勤奋勋章交易勋章

发表于 2025-5-28 23:08 来自手机 | 显示全部楼层
楼主这次玩彩票运气不太好,后面几手大注都黑了,损失了300大洋
回复 支持 反对

使用道具 举报

2618

主题

5万

回帖

6706

金币

钻石用户

积分
177264

万时之王老会员精华勋章勤奋勋章交易勋章

发表于 2025-5-28 23:09 来自手机 | 显示全部楼层
江南雨 发表于 2025-5-28 21:30  T. B2 l/ K& X3 G! p3 u
心态一崩就容易追大,咱以后看路子要多留心,别被输赢牵着鼻子走。

( _* T( D- x- V/ H' K: d4 \3 H加注负追风险还是有点大,一旦运气不好连黑几手,注码上去人容易失控
回复 支持 反对

使用道具 举报

1579

主题

8万

回帖

2万

金币

海燕硕士

积分
258772

万时之王老会员精华勋章勤奋勋章交易勋章光影行者

发表于 2025-5-29 06:04 | 显示全部楼层
楼主这一次感觉输的有点多了,希望想办法尽快赢回来吧
回复 支持 反对

使用道具 举报

1579

主题

8万

回帖

2万

金币

海燕硕士

积分
258772

万时之王老会员精华勋章勤奋勋章交易勋章光影行者

发表于 2025-5-29 06:04 | 显示全部楼层
浴火凤凰 发表于 2025-5-28 23:081 [4 k+ O% q  ]2 k, I
楼主这次玩彩票运气不太好,后面几手大注都黑了,损失了300大洋

5 q! _2 R8 s7 m- r这一次楼主的运气有点不太好了,大注黑了还是很郁闷的
回复 支持 反对

使用道具 举报

1579

主题

8万

回帖

2万

金币

海燕硕士

积分
258772

万时之王老会员精华勋章勤奋勋章交易勋章光影行者

发表于 2025-5-29 06:04 | 显示全部楼层
浴火凤凰 发表于 2025-5-28 23:09
5 d4 U, t1 I% F& R# _加注负追风险还是有点大,一旦运气不好连黑几手,注码上去人容易失控

' v5 X& p* E# X# ]) A这个风险还是非常大的呢,所以我们还是要努力控制好自己的
回复 支持 反对

使用道具 举报

1852

主题

6万

回帖

2670

金币

钻石用户

积分
176657

万时之王老会员勤奋勋章交易勋章

发表于 2025-5-29 06:41 来自手机 | 显示全部楼层
浴火凤凰 发表于 2025-5-28 23:08
5 @) C( s( c. i  k) P% E, k楼主这次玩彩票运气不太好,后面几手大注都黑了,损失了300大洋

: R: ?, J3 s; C; @7 ^8 r" G这样的运气是真的不好的呀,要么也不可能是亏损的节奏
回复 支持 反对

使用道具 举报

1852

主题

6万

回帖

2670

金币

钻石用户

积分
176657

万时之王老会员勤奋勋章交易勋章

发表于 2025-5-29 06:41 来自手机 | 显示全部楼层
cwx1994 发表于 2025-5-29 06:04
' f# z+ O, R# k0 Y楼主这一次感觉输的有点多了,希望想办法尽快赢回来吧
& J8 L. ]% K' k! H5 {
这一次的损失真的是非常多,这个结果也是真的没有办法呀
回复 支持 反对

使用道具 举报

1852

主题

6万

回帖

2670

金币

钻石用户

积分
176657

万时之王老会员勤奋勋章交易勋章

发表于 2025-5-29 06:41 来自手机 | 显示全部楼层
第一次看见你亏损了这么多,这次的结果是真的不给力
回复 支持 反对

使用道具 举报

2448

主题

8万

回帖

4833

金币

海燕硕士

积分
224155

老会员超级精华精华勋章美女勋章勤奋勋章交易勋章万时之王

发表于 2025-5-29 07:12 | 显示全部楼层
这次的运气真不行输掉了这么多的钱要怎么才能搞回来
回复 支持 反对

使用道具 举报

2448

主题

8万

回帖

4833

金币

海燕硕士

积分
224155

老会员超级精华精华勋章美女勋章勤奋勋章交易勋章万时之王

发表于 2025-5-29 07:12 | 显示全部楼层
yb454553 发表于 2025-5-29 06:41% Z& X: r2 h* u, u/ G* Y2 C5 M
第一次看见你亏损了这么多,这次的结果是真的不给力
0 n7 g: Q% A6 h: i. R3 }) g
不给力的时候也可以理解的,下次再想办法搞回来就行
回复 支持 反对

使用道具 举报

2448

主题

8万

回帖

4833

金币

海燕硕士

积分
224155

老会员超级精华精华勋章美女勋章勤奋勋章交易勋章万时之王

发表于 2025-5-29 07:12 | 显示全部楼层
cwx1994 发表于 2025-5-29 06:04& {; n4 b7 l& [
这个风险还是非常大的呢,所以我们还是要努力控制好自己的

4 K8 u# t8 ]1 C2 m4 p6 C7 J- P$ @' u8 Z风险大的时候就是这样的,输掉了300多块也不是小钱了
回复 支持 反对

使用道具 举报

2448

主题

8万

回帖

4833

金币

海燕硕士

积分
224155

老会员超级精华精华勋章美女勋章勤奋勋章交易勋章万时之王

发表于 2025-5-29 07:13 | 显示全部楼层
cwx1994 发表于 2025-5-29 06:046 L  ]$ ~: s# ^- b  ^( g
楼主这一次感觉输的有点多了,希望想办法尽快赢回来吧
1 }" L+ p8 N) n8 A! c# B9 F# p
现在赚回来也是比较困难的,我们也能理解这样的一个心情
回复 支持 反对

使用道具 举报

2448

主题

8万

回帖

4833

金币

海燕硕士

积分
224155

老会员超级精华精华勋章美女勋章勤奋勋章交易勋章万时之王

发表于 2025-5-29 07:13 | 显示全部楼层
浴火凤凰 发表于 2025-5-28 23:08( D1 d' W* F3 P* F  {6 A
楼主这次玩彩票运气不太好,后面几手大注都黑了,损失了300大洋

- d2 o6 l$ d6 _9 E; h彩票游戏也是不好玩啊,容易导致输钱的结果只能慢慢来再输
回复 支持 反对

使用道具 举报

您需要登录后才可以回帖 登录 | 立即注册

本版积分规则

广告合作|福利汇|论坛简介|钱包教程|手机版|小黑屋|Archiver|海燕论坛

快速回复 返回顶部 返回列表